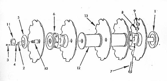
Ref. No.
|
O & D Part No.
|
Description
|
1
|
OD4A60C
|
BUMPER WASHER
|
2
|
ODNL225
|
NUT LOCK
|
2a
|
ODNL225P
|
NUT LOCK SOCKET TYPE
|
3
|
ODB834X2
|
3/4” X 2” GR 8 BOLT
|
4
|
ODLW34
|
3/4” LOCKWASHER
|
5
|
OD4A64B
|
AXLE WASHER
|
6
|
OD3A605A
|
BEARING ASSEMBLY 12” SPACING
|
6a
|
OD7A605
|
BEARING ASSEMBLY 14” SPACING
|
7
|
ODB81X8
|
1” X 8” GR 8 BOLT
|
8
|
ODLW1
|
1” LOCKWASHER
|
9
|
ODNC1
|
1” GR. 8 HEX NUT
|
10
|
VARIES BY LENGTH
|
GANG AXLE
|
11
|
OD4N200
|
2” AXLE NUT
|
12
|
Varies By Spacing & Blade Thickness
|
SPACER SPOOL
|
13
|
VARIES BY SIZE
|
DISC BLADE
|
Not shown
|
OD2A66WPB
|
BEARING WEAR PLATE
|
|